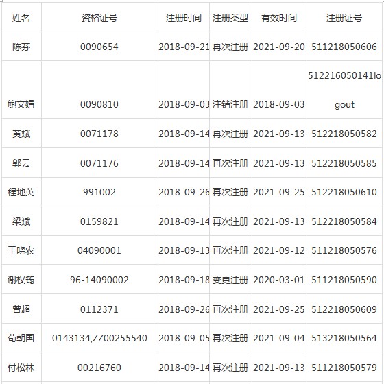
相信很多朋友对四川泸州市执业药师注册信息感兴趣,因此,医学教育网小编为大家整理出如下内容:








学员讨论(0)
相关资讯
相信很多朋友对四川泸州市执业药师注册信息感兴趣,因此,医学教育网小编为大家整理出如下内容:









张钰琪老师 2024-02-27 19:25--21:00
回看
张钰琪老师 2024-01-30 19:25--21:00
回看