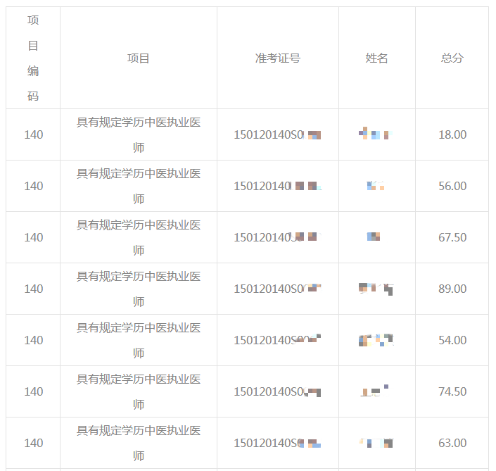
关于“呼和浩特2020中医执业医师实践技能考试成绩单(7月11日)”的问题很多考生都很感兴趣,医学教育网小编整理如下内容,预祝考生考试顺利。

完整版查看地址:http://wjw.huhhot.gov.cn/wskwxx/202007/t20200713_709610.html
第一天难不难?2020年中医执业医师实践技能考试全解析来了!
上文“呼和浩特2020中医执业医师实践技能考试成绩单(7月11日)”由医学教育网整理,更多医考信息、政策新闻、备考干货请关注医学教育网。

学员讨论(0)
相关资讯
- · 云南省2025年中医执业医师实践技能考场安排|成绩出分时间
- · 国家中医药管理局:2025年中医执业医师实践技能考试注意事项
- · 湖南省2025年中医执业医师实践技能考试安排及考生注意事项
- · 新疆2025年中医执业医师实践技能考场有哪些要求?速看!
- · 广西2025年中医执业医师实践技能考生速看考试基地安排!
- · 西藏2025年中医执业医师实践技能考场安排及注意事项
- · 甘肃省2025年中医执业医师实践技能准考证6月9日起打印!
- · 国家医学考试网发布2025年中医执业医师实践技能考试温馨提示
- · 河南省2025年中医执业医师实践技能缴费注意事项
- · 贵州省2025年中医执业医师实践技能网上缴费步骤有哪些?













扫一扫立即下载


